Концевой выключатель мгновенного действия серии S800 НО+НЗ контакты Контактная система IP40 Клеммы IP00
Характеристика :
1, контактное действие чувствительно и надежно, точность высокая, срок службы длительный, а внешний вид красивый.
2, использование инженерных пластиков с отличными изоляционными свойствами, которые обладают характеристиками огнестойкости, улучшения, высокой термостойкости и долговечности.
3, могут быть настроены в соответствии с различными требованиями.
Приложение с:
Завод общего оборудования, горнодобывающая промышленность, строительная техника
Локомотивное оборудование, Электроэнергетика, В области кораблей
Технические параметры:
| Номинальное напряжение ток | AC-12 Uec380V/16A DC-12 Ue110V/10A |
| Допустимая рабочая скорость | 0,5 мм-1 м/с |
| Допустимая рабочая частота | Оборудование: макс. 120 раз/мин. Оборудование: мин. 20 раз/мин. |
| Контактное сопротивление | 25 МОм |
| Изоляционное сопротивление | 100 МОм (AC4000V) |
| Выдерживаемое напряжение, частота питания | Номинальное выдерживаемое напряжение 4 кВ |
| антивибрационный | 10-55 Гц 1,5 мм двойное вибрационное излучение |
| Шок | длительный срок: макс. 4000 м/сек2 Неисправность: 300 м/сек2 |
| Срок службы | Машины: более 1 миллиона раз Электрические: более 200 000 раз |
| Температура окружающей среды | от -45 до 80 ℃ |
| Класс защиты | IP65 |
| Характеристики производительности | ОТ-3,5Н ФП-1,9Н РП-0,8Н |
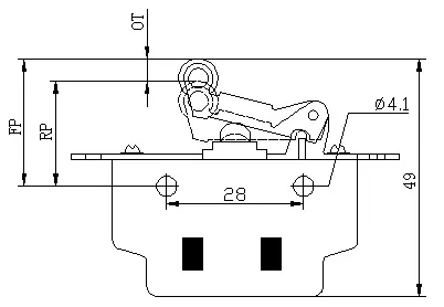
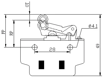
Габаритный чертеж (единица измерения: мм):
Чертеж S800a:

Чертеж S800b:

Чертеж S800c:

Чертеж S800e:
